follow ft86club on our blog, twitter or facebook.
FT86CLUB
Ft86Club
Speed By Design
Register Garage Community Calendar Today's Posts Search

Go Back   Toyota GR86, 86, FR-S and Subaru BRZ Forum & Owners Community - FT86CLUB > Technical Topics > Issues | Warranty | Recalls / TSB

Issues | Warranty | Recalls / TSB Problems, issues, recalls, TSBs

Register and become an FT86Club.com member. You will see fewer ads

User Tag List

Reply
 
Thread Tools Search this Thread
Old 08-19-2016, 03:03 AM   #15
iamjacob
insert witty quip here
 
Join Date: Mar 2016
Drives: 2016 Limited BRZ
Location: Stockton CA
Posts: 255
Thanks: 52
Thanked 193 Times in 103 Posts
Mentioned: 1 Post(s)
Tagged: 0 Thread(s)
I thought the same thing at first but the OP said in post #6 that both keys are doing the same thing. The key is also unlocking the door and turning on all of the ACC power and internals, just no juice to the starter.

I was thinking either steering wheel lock or clutch switch.
iamjacob is offline   Reply With Quote
Old 08-19-2016, 03:12 AM   #16
pevsfreedom
Member
 
Join Date: Jul 2015
Drives: 2014 BRZ
Location: Los Angeles
Posts: 55
Thanks: 6
Thanked 7 Times in 4 Posts
Mentioned: 1 Post(s)
Tagged: 0 Thread(s)
Quote:
Originally Posted by ryoma View Post
have you made sure that your steering wheel was not locked prior to starting up the car? with your steering wheel locked, you will still have power to your accessories but just the starter won't turn I believe. some people would accidentally bump their steering wheel when getting in and out so they do not realize they locked it up.
It's never locked when this happens. It happens like 75% of the time when I start it and is a new problem.

Still happens with new car battery AND new key. I have no desire to mess with clutch and am 93% sure it's the clutch safety switch.
pevsfreedom is offline   Reply With Quote
Old 08-19-2016, 11:34 AM   #17
extrashaky
Senior Member
 
Join Date: Mar 2014
Drives: 2014 BRZ Limited
Location: USA
Posts: 4,045
Thanks: 1,100
Thanked 5,618 Times in 2,266 Posts
Mentioned: 55 Post(s)
Tagged: 1 Thread(s)
Quote:
Originally Posted by pevsfreedom View Post
Still happens with new car battery AND new key.
A new key with a new battery, or the spare key that came with the car, which has been sitting for two years?

That brings up an interesting question I don't think I've seen asked or answered here. The key fob on my Jeep doesn't transmit anything until you push one of the buttons. The rest of the time, it's completely inactive. If you push the buttons more often, the battery will die more quickly. The battery in that fob lasts several years.

My BRZ key is different. It works whether I push any buttons at all. I can walk up to the car, open the trunk to stash my bag, open the driver's door with the switch in the door handle, start the car and drive away without ever touching the key at all. The battery in it died a few months ago (and behaved similar to the way you have described, but only for a day or so before it died altogether). It seems to have a much shorter life span than the one in my Jeep key.

Is the BRZ key inactive until the car senses it, at which time the car tells it to start transmitting? Or is the key always transmitting a low power signal for the car to detect? Based on the short battery life, I suspect it's the latter. That would be a lot simpler design, and a low power transmitter can certainly run for a couple of years that way on a wafer battery. I don't think the key is smart at all. It just sits there spitting out a signal without ever knowing it's near the car.

If that's the case, that means your "new" key is not new at all. While your "used" key has been transmitting for the last two years to open and start your car, your "new" key has been transmitting for the last two years to the inside of a drawer, draining the wafer battery at the same rate.

So again, regardless of whether you're 20% or 50% or 93% or 99% certain it's the clutch switch, I suggest you go buy a new battery and see if it fixes the problem. If I'm wrong, you're out six bucks and a trip to Best Buy. If I'm right, you saved yourself a lot of time and irritation fucking around with something that isn't broken.
extrashaky is offline   Reply With Quote
The Following User Says Thank You to extrashaky For This Useful Post:
justatroll (08-21-2016)
Old 08-19-2016, 04:05 PM   #18
SS4goku
Senior Member
 
SS4goku's Avatar
 
Join Date: Oct 2012
Drives: BRZ tS
Location: Orange County, CA
Posts: 44
Thanks: 14
Thanked 22 Times in 17 Posts
Mentioned: 0 Post(s)
Tagged: 0 Thread(s)
I have been experiencing this as well. I have to clutch in multiple times for the green key indicator to show up and then it will start.
SS4goku is offline   Reply With Quote
Old 08-19-2016, 04:51 PM   #19
ryoma
Senior Member
 
ryoma's Avatar
 
Join Date: Mar 2015
Drives: 2015 Subaru BRZ Limited CWP
Location: SoCal
Posts: 1,561
Thanks: 34
Thanked 669 Times in 469 Posts
Mentioned: 13 Post(s)
Tagged: 0 Thread(s)
Quote:
Originally Posted by pevsfreedom View Post
It's never locked when this happens. It happens like 75% of the time when I start it and is a new problem.

Still happens with new car battery AND new key. I have no desire to mess with clutch and am 93% sure it's the clutch safety switch.
if you think it's the clutch safety switch, have you tried to fix it? maybe the spring mechanism on the switch is getting stuck due to excess dirt or something. I haven't heard of anyone having their clutch switch breaking, but there is always a first time for everything.
__________________
ryoma is offline   Reply With Quote
Old 08-19-2016, 05:15 PM   #20
pevsfreedom
Member
 
Join Date: Jul 2015
Drives: 2014 BRZ
Location: Los Angeles
Posts: 55
Thanks: 6
Thanked 7 Times in 4 Posts
Mentioned: 1 Post(s)
Tagged: 0 Thread(s)
Quote:
Originally Posted by ryoma View Post
if you think it's the clutch safety switch, have you tried to fix it? maybe the spring mechanism on the switch is getting stuck due to excess dirt or something. I haven't heard of anyone having their clutch switch breaking, but there is always a first time for everything.
I've put my head down there but I can't really find anything out of the ordinary though I have no clue what I'm doing. I can't find the switch.
pevsfreedom is offline   Reply With Quote
Old 08-19-2016, 05:16 PM   #21
pevsfreedom
Member
 
Join Date: Jul 2015
Drives: 2014 BRZ
Location: Los Angeles
Posts: 55
Thanks: 6
Thanked 7 Times in 4 Posts
Mentioned: 1 Post(s)
Tagged: 0 Thread(s)
Quote:
Originally Posted by SS4goku View Post
I have been experiencing this as well. I have to clutch in multiple times for the green key indicator to show up and then it will start.
I've been stranded for 30-40 minutes a few times because of it. It just randomly miraculously works after awhile.

edit: I got an appt for the 29th which is as early as they could get me in when the "main tech" guy is there because this issue apparently is confusing them.

Last edited by pevsfreedom; 08-19-2016 at 05:32 PM.
pevsfreedom is offline   Reply With Quote
Old 08-19-2016, 05:36 PM   #22
iamjacob
insert witty quip here
 
Join Date: Mar 2016
Drives: 2016 Limited BRZ
Location: Stockton CA
Posts: 255
Thanks: 52
Thanked 193 Times in 103 Posts
Mentioned: 1 Post(s)
Tagged: 0 Thread(s)
Quote:
Originally Posted by pevsfreedom View Post
Well for prosperity's sake here's what the switch looks like (I think?)
I think you're more looking for this part...



I would just make sure that it's plugged in securely and that you can depress the plunger.

It's possible that the lock nut has backed off and the plunger is not being depressed all the way / far enough.

Since you're still under warranty get it back to the dealer and get them to work it out. ***** Nevermind, just saw that you have an appointment.
iamjacob is offline   Reply With Quote
Old 08-19-2016, 05:40 PM   #23
Yoshoobaroo
TRACKBREAD
 
Yoshoobaroo's Avatar
 
Join Date: Mar 2016
Drives: 2013 BRZ
Location: Florida
Posts: 3,929
Thanks: 2,660
Thanked 4,032 Times in 1,898 Posts
Mentioned: 30 Post(s)
Tagged: 0 Thread(s)
Garage
Quote:
Originally Posted by iamjacob View Post
I think you're more looking for this part...



I would just make sure that it's plugged in securely and that you can depress the plunger.

It's possible that the lock nut has backed off and the plunger is not being depressed all the way / far enough.

Since you're still under warranty get it back to the dealer and get them to work it out. ***** Nevermind, just saw that you have an appointment.
yup, that's the one.

heads up! There are 2 of them, one in front of the pedal and one behind the pedal (with respect to the car, nose=front tail=rear). you want to check the front one.
Yoshoobaroo is offline   Reply With Quote
Old 08-19-2016, 06:12 PM   #24
extrashaky
Senior Member
 
Join Date: Mar 2014
Drives: 2014 BRZ Limited
Location: USA
Posts: 4,045
Thanks: 1,100
Thanked 5,618 Times in 2,266 Posts
Mentioned: 55 Post(s)
Tagged: 1 Thread(s)
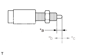
Here's the info on the clutch switches from the service manual. There are TWO switches, a clutch switch and a clutch start switch.



REMOVAL

1. Disconnection of battery ground terminal
2. Removal of instrument side panel RH
3. Removal of instrument panel under cover SUB-ASSY No.1
4. Removal of instrument panel under cover SUB-ASSY No.2
5. Removal of knee airbag module
6. Removal of clutch switch ASSY
(1) Remove the clutch switch connector.



(2) Remove the nut and then remove the clutch switch ASSY from the clutch pedal support SUB-ASSY.
7. Removal of clutch pedal support SUB-ASSY (refer to )
8. Removal of clutch start switch ASSY
(1) Disconnect the clutch start switch connector.



(2) Remove the nut and then remove the clutch start switch ASSY from the clutch pedal support SUB-ASSY.

INSTALLATION

1. Installation of clutch start switch ASSY
(1) Install the clutch start switch ASSY to the clutch pedal support SUB-ASSY with the nut.
Standard value:
Tightening torque=8.0N·m { 82kgf·cm} {5.9ft·lbf}
(2) Connect the clutch start switch connector.


*a - Clearance

(3) Measure the gap shown in the figure with the clutch pedal fully depressed.
Normal clearance : 3.5 to 4.0 mm {0.138 to 0.157 in}
2. Installation of clutch pedal support SUB-ASSY
3. Installation of clutch switch ASSY
(1) Install the clutch switch ASSY to the clutch pedal support SUB-ASSY with the nut.
Standard value: Tightening torque=8.0N·m { 82kgf·cm} {5.9ft·lbf}
(2) Connect the clutch switch connector.


*a - No gap

(3) Check that a gap is not created when the clutch pedal is not depressed.
4. Installation of knee airbag module
5. Installation of instrument panel under cover SUB-ASSY No.2
6. Installation of instrument panel under cover SUB-ASSY No.1
7. Installation of instrument side panel RH
8. Connection of the battery ground terminal
Standard value: Tightening torque=6.0N·m { 61kgf·cm} {4.4ft·lbf}
9. Settings when removing/installing battery terminals
10. Check of airbag warning light

ON-VEHICLE INSPECTION

1. Check of clutch start switch ASSY
(1) Make sure that engine does not start with clutch pedal not depressed.
(2) Make sure that engine starts with the clutch pedal fully depressed. If necessary, replace the clutch start switch ASSY with a new one.

UNIT INSPECTION



1. Check of clutch start switch ASSY
(1) Measure the resistance between terminals when operating the shaft.

Captions in illustration
*a - 4.0 to 5.5 mm {0.157 to 0.217 in}
*b - ON
*c - OFF

Resistance
When shaft is pressed in (ON) - Less than 1 Ω
When shaft is not pressed in (OFF) - 10 k Ω or more
extrashaky is offline   Reply With Quote
The Following 3 Users Say Thank You to extrashaky For This Useful Post:
brz7400 (07-06-2018), iamjacob (08-19-2016), Sportsguy83 (12-01-2016)
Old 08-19-2016, 09:49 PM   #25
pevsfreedom
Member
 
Join Date: Jul 2015
Drives: 2014 BRZ
Location: Los Angeles
Posts: 55
Thanks: 6
Thanked 7 Times in 4 Posts
Mentioned: 1 Post(s)
Tagged: 0 Thread(s)
Awesome thanks everyone.
pevsfreedom is offline   Reply With Quote
Old 08-19-2016, 10:11 PM   #26
mav1178
Senior Member
 
mav1178's Avatar
 
Join Date: Apr 2013
Drives: 2005 Toyota Camry
Location: 91745
Posts: 6,562
Thanks: 493
Thanked 6,097 Times in 3,029 Posts
Mentioned: 95 Post(s)
Tagged: 3 Thread(s)
Quote:
Originally Posted by extrashaky View Post
Here's the info on the clutch switches from the service manual. There are TWO switches, a clutch switch and a clutch start switch.
In case anyone is confused...

The switch that the clutch pedal arm touches when you depress the pedal all the way is for engine start.

The switch that the arm touches in a natural resting position is to disengage cruise control if you have it on.

-alex
mav1178 is offline   Reply With Quote
The Following User Says Thank You to mav1178 For This Useful Post:
Sportsguy83 (12-01-2016)
Old 08-19-2016, 10:38 PM   #27
Ultramaroon
not playing cards
 
Ultramaroon's Avatar
 
Join Date: Sep 2014
Drives: a 13 e8h frs
Location: vantucky, wa
Posts: 32,396
Thanks: 53,053
Thanked 37,225 Times in 19,308 Posts
Mentioned: 1117 Post(s)
Tagged: 9 Thread(s)
Quote:
Originally Posted by mav1178 View Post
In case anyone is confused...

The switch that the clutch pedal arm touches when you depress the pedal all the way is for engine start.

The switch that the arm touches in a natural resting position is to disengage cruise control if you have it on.

-alex
Yes, but which one is which?
__________________
Ultramaroon is offline   Reply With Quote
Old 08-19-2016, 11:06 PM   #28
mav1178
Senior Member
 
mav1178's Avatar
 
Join Date: Apr 2013
Drives: 2005 Toyota Camry
Location: 91745
Posts: 6,562
Thanks: 493
Thanked 6,097 Times in 3,029 Posts
Mentioned: 95 Post(s)
Tagged: 3 Thread(s)
Quote:
Originally Posted by Ultramaroon View Post
Yes, but which one is which?
Clutch start switch is the higher of the two, that one is for engine start.

-alex
mav1178 is offline   Reply With Quote
The Following User Says Thank You to mav1178 For This Useful Post:
Ultramaroon (08-19-2016)
 
Reply


Posting Rules
You may not post new threads
You may not post replies
You may not post attachments
You may not edit your posts

BB code is On
Smilies are On
[IMG] code is On
HTML code is Off

Forum Jump

Similar Threads
Thread Thread Starter Forum Replies Last Post
Pushed start.. didnt start im_topher Engine, Exhaust, Transmission 86 11-29-2015 10:57 AM
Battery dies, push start car in gear.... push start button rhythmM Scion FR-S / Toyota 86 GT86 General Forum 7 02-27-2014 07:06 PM
Pop-Start with Push-Button Start cmspooner BRZ First-Gen (2012+) — General Topics 5 03-22-2013 03:45 PM
Push Start Rough Engine Start Up joergasm Engine, Exhaust, Transmission 3 12-12-2012 04:44 AM
Tad's CBS BRZ From The Start Tad_07 Member's Car Journals 8 10-12-2012 03:19 AM


All times are GMT -4. The time now is 06:47 PM.


Powered by vBulletin® Version 3.8.11
Copyright ©2000 - 2025, vBulletin Solutions Inc.
User Alert System provided by Advanced User Tagging v3.3.0 (Lite) - vBulletin Mods & Addons Copyright © 2025 DragonByte Technologies Ltd.

Garage vBulletin Plugins by Drive Thru Online, Inc.